Apple, katlanabilir cihazları için yıllar boyunca birçok patent aldı ancak henüz hiçbirini hayata geçirmedi. Şirketin yayınlanan son patenti ise katlanabilir cihazların menteşeleriyle ilgili.
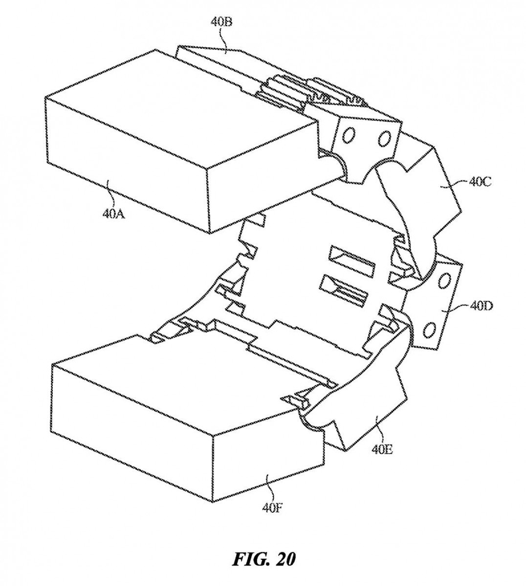
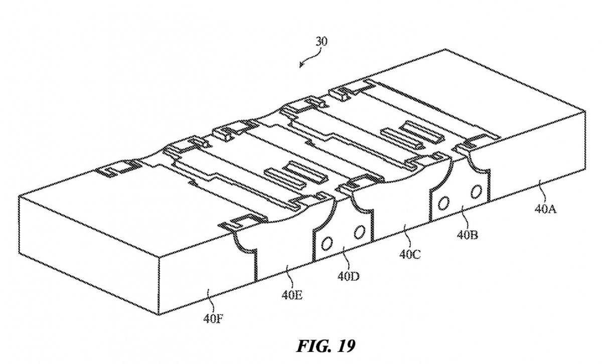
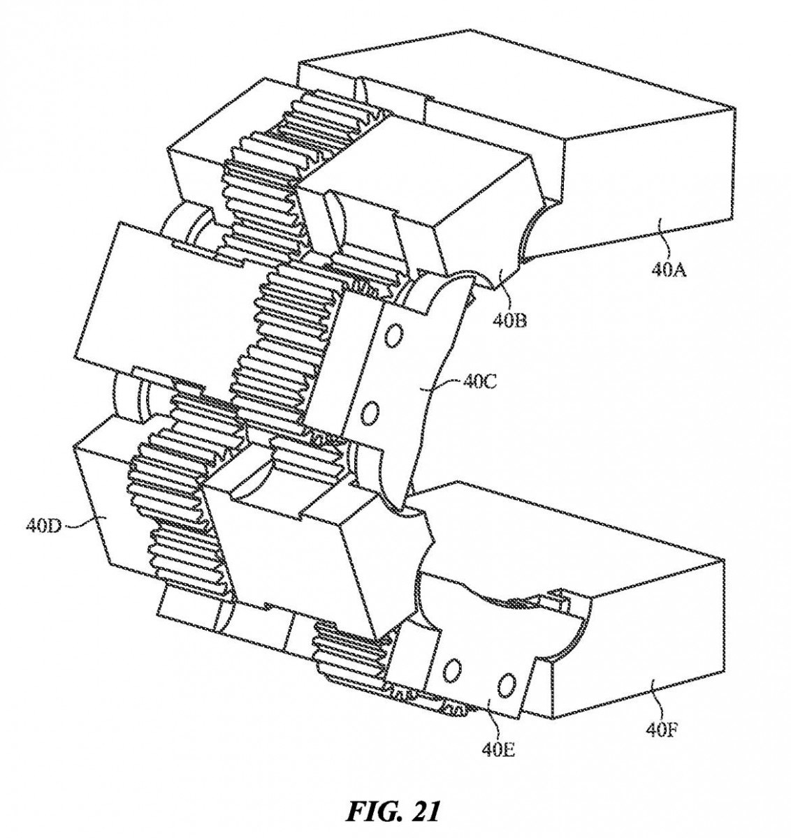
Apple’ın aldığı patent, birbirine bağlı birçok parça ve dişliden oluşan karmaşık bir menteşe tasarımını gösteriyor. Patentteki en ilgin ayrıntı hilal şeklindeki parçalar. Bu parçalar sayesinde, her bir bağlantı diğerine göre hareket ederek, dönüş eksenini bağlantını dışına taşıyabiliyor. Böylece daha yumuşak bir kıvrılma hareketi elde ediliyor.
Patent oldukça geniş bir şekilde ifade edildiği için, bu menteşe tasarımının telefonlara, tabletlere, dizüstü bilgisayarlara ve hatta saatlere ve diğer giyilebilir cihazlara uygulanabileceği belirtiliyor. Yine de, bunun Apple’ın patentini aldığı önceki menteşelerin yeni ve geliştirilmiş bir versiyonu olup olmadığı bilinmiyor. Apple’ın ilk katlanabilir cihazının ne zaman piyasaya çıkacağı belli değil. Ancak şirketin, katlanabilir iPhone, iPad ve Macbook tasarımları üzerinde çalıştığı biliniyor. Özellikle menteşenin dayanıklılığı ve katlanma izini ortadan kaldırma konusunda Apple’ın hassas olduğu ve zorluklar yaşadığı belirtiliyor.
Kaynak : https://www.donanimhaber.com/apple-katlanabilir-cihazlari-icin-yeni-bir-mentese-patenti-aldi–185191



