Samsung telefonlara, hava durumuna göre değişen duvar kağıdı özelliği gelebilir

featured
service
Paylaş

Bu Yazıyı Paylaş

veya linki kopyala

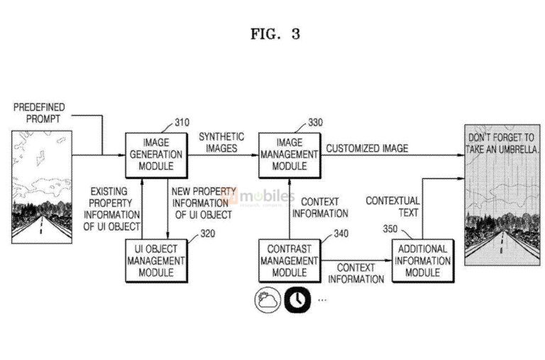
Samsung, akıllı telefonlarına yakında güzel bir özellik getirebilir. Şirketin yeni patent başvurusu, yapay zeka yardımıyla hava durumuna ve zamana göre duvar kağıdının değiştirilebilmesini içeriyor.

Samsung’un ABD’de yaptığı patent başvurusunda yer alan çizimler, günün farklı zaman dilimlerinde, farklı hava koşullarına göre dinamik olarak değişen duvar kağıtlarını gösteriyor. Bu sayede, örneğin bir manzara fotoğrafı hava yağmurlu ve kapalıyken, bu havayı yansıtacak şekilde otomatik olarak değişebiliyor. Hatta kullanıcılara şemsiye taşımaları yönünde uyarıların da gösterilebileceği patentlerde yer alıyor.

Üretken yapay kullanılıyor

Samsung,  fotoğrafları hava durumu ve zaman dilimine göre değiştirmek için üretken yapay zekadan faydalanacak. Yine yapay zeka yardımıyla görüntüye çeşitli katmanlar eklenebilecek. Şimdilik patent aşamasında olan bu ilginç konseptin ne zaman telefonlara geleceği bilinmiyor.

Kaynak  : https://www.donanimhaber.com/samsung-telefonlarin-duvar-kagidi-hava-durumuna-gore-degisecek–186124

0
mutlu
Mutlu
0
_zg_n
Üzgün
0
sinirli
Sinirli
0
_a_rm_
Şaşırmış
0
vir_sl_
Virüslü
Samsung telefonlara, hava durumuna göre değişen duvar kağıdı özelliği gelebilir

Tamamen Ücretsiz Olarak Bültenimize Abone Olabilirsin

Yeni haberlerden haberdar olmak için fırsatı kaçırma ve ücretsiz e-posta aboneliğini hemen başlat.

E-posta adresiniz yayınlanmayacak. Gerekli alanlar * ile işaretlenmişlerdir

Giriş Yap

Kamu Çalışanı ayrıcalıklarından yararlanmak için hemen giriş yapın veya hesap oluşturun, üstelik tamamen ücretsiz!

Bizi Takip Edin